Б&М №5(41)'09 • Леонид Бальцев «Теория бильярдной игры»
Удары: Абриколь
Удар от борта - это удар, при котором биток вначале ударяется в борт, а затем в прицельный шар. В бильярде удар от борта называется также АБРИКОЛЬ. Этот удар применяется для забивания своего или чужого шара, отыгрыша и выхода.
В бильярдной игре невероятное количество комбинаций, где может использоваться этот удар. Для примера я покажу несколько самых распространенных комбинаций с использованием абриколя.
В пирамиде, где во всех играх очередным может быть любой шар, такой удар используется в основном для забития прицельного шара, когда он стоит в лузе или очень близко, и "замазан" другими шарами. (Рис. 1) То же самое относится и к забитию своего шара, когда чужой шар стоит недалеко от лузы. (Рис. 2)

Удар от борта используется также для «покладки» своего шара, кода он «чисто» в лузу не проходит.
На показанном рисунке удар в среднюю лузу производится в губку лузы с левым винтом, а в угловую лузу – с правым винтом.
Большое значение имеет умение играть от борта в таких играх как Пул, особенно, при игре в девятку, где очередным шаром является только один шар.
Приведу несколько примеров.
1) Забитие шара.
Забить шар №2 в угловую лузу №3 напрямую или дуплетом в лузу №4 мешают другие шары. Дуплет или оборотный в среднюю лузу №5 не проходит из-за «контртуша». Здесь может выручить удар от длинного борта, как бы с тыла. Такой удар иногда называют «каблук» (наподобие удара «пяткой» в футболе).
2) Отыгрыш.
Забить шар №2 в указанной позиции практически нельзя. В данной позиции лучше отыграться ударом от короткого борта с левым боковиком несильным ударом, стараясь поставить шар №2 в «маску» за другие шары, как это показано на рисунке. Обычно при таком ударе катящийся биток, отскакивая от борта, имеет обратное вращение, и после удара в прицельный шар останавливается на месте. Т.е. облегчен контроль своего шара.
3) Выход из «маски».
Биток, с левым боковиком от короткого борта, ставит очередной шар №2 в маску за другие шары, а сам возвращается к ближнему борту.
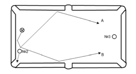
4) Забитие очередного шара с выходом под следующий шар.
Забив шар №2, нужно выйти под шар №3. Биток, шар №2 и луза находятся на одной линии. Накатом играть нельзя. На оттяжке, даже очень сильной, биток не выйдет за среднюю линию. Если ударить от борта на оттяжке с правым боковиком, биток выходит в точку «А». Такой же удар небольшим накатом с левым боковиком ставит биток в точку «В».
Аналогично пулу, удар от борта часто используется и в снукере. Про карамболь я не говорю, так как там вся игра «строится» на этом ударе.
Для расчетов удара абриколь действуют те же правила, что и при игре дуплетом, но «арсенал» ударов от борта гораздо шире. Дело в том, что борт очень сильно реагирует на вращение шара. Битку, при ударе кием, можно придать разнообразные подкрутки, которые прицельному шару передаются очень незначительно.
Например, чужой шар, получив от своего шара боковую подкрутку, может изменить угол отскока от борта не более чем на 3 градуса. В то же время биток, под действием бокового вращения, может изменить траекторию отскока до 45 градусов. При этом, чем сильнее винт, тем больше изменяется угол отскока. Таким образом, винтом можно регулировать угол отскока. Для примера рассмотрим такую позицию.

Очередной шар №4 стоит у лузы. Забить его напрямую или дуплетом от длинного борта, применяя правило «угол падения равен углу отражения», мешает шар №7. Играть необходимо дуплетом от двух бортов (короткий, длинный) мешает шар №6 (траектория показана пунктиром). В такой позиции может выручить удар слегка наклонным кием под низ шара с сильным правым боковиком (траектория показана сплошной линией).
Более подробно о влиянии вращения шара на отскок от борта написано в моей статье «Шар и борт» опубликованной в журнале «Бильярд&магазин» №3 за 2006 год.

Инженер-строитель,
игрок в бильярд с 60-летним стажем